Home page | Каталоги и базы данных

Научные и технические библиотеки

УДК 025:65.011.56

Баранов В.Л., Племнек А.И.,
Соколова Н.В.


Распределенные библиотечные системы

Рассмотрены принципы организации распределенной библиотечной системы, базирующейся на стандартных формате обмена и протоколе обмена. Введено понятие виртуального библиографического пространства как самого верхнего уровня представления библиотечно-информационных систем.
Предложена реализация концепции виртуального пространства в виде логической сети RUSLANet, базирующейся на транспортных механизмах Интернет. Приведена функционально-логическая структура сети, основным элементом которой является протокол обмена библиографическими данными прикладного уровня NBTP. Дана краткая характеристика сервисов, которые должны быть реализованы в распределенной библиотечной системе при поддержке протокола NBTP.

Необходимость создания
распределенной библиотечной системы, роль стандартов

За последние годы значительно возросло количество библиотек, осуществляющих электронную обработку документов или планирующих внедрить ее в ближайшее время. В связи с этим возникает необходимость в оперативном обмене библиографическими описаниями документов и предоставлении доступа пользователям к электронным каталогам библиотек.

Дадим определения некоторых понятий, которые будем использовать в дальнейшем. Способ электронной обработки документов и его реализацию в конкретной библиотеке будем называть библиотечной информационной системой или библиотечной системой. Формат, в котором библиографические описания хранятся в конкретной библиотеке, будем называть форматом хранения, а формат описаний, используемый при их передаче, - форматом обмена. Библиотечные системы являются разнородными, если в них используется различные форматы хранения. Под протоколом понимается набор семантических и синтаксических правил, определяющих поведение функциональных блоков (совокупности логически связанных функций) при передаче данных. Другими словами, протокол - это соглашение, касающееся управления процедурами информационного обмена между взаимодействующими объектами.

Трудности с обменом библиографическими описаниями возникают из-за того, что в различных библиотеках документы описываются по-разному и, следовательно, хранятся в различных форматах хранения.

К сожалению, современные библиотечные системы в целом являются разнородными - такова реальность. Для обеспечения обмена описаниями между разнородными системами необходимо, чтобы в них использовался один и тот же формат обмена. При этом формат хранения в библиотечных системах может быть произвольным, удобным для конкретной библиотеки. Формат обмена должен позволять наиболее полно описывать различные типы документов и обеспечивать обмен библиографическими данными в машиночитаемой форме. Однако для обеспечения обмена этими данными по сетям и другим каналам связи этого недостаточно. Необходим также открытый стандарт на протокол обмена библиографическими данными. Этот протокол в части информационного обмена библиографическими данными должен использовать стандартный формат обмена. Следует отметить, что формат обмена должен быть открытым, т. е. являться либо одним из стандартов Международной организации по стандартизации, либо международным индустриальным стандартом (стандартом де-факто). Протокол же в настоящее время может быть только корпоративным стандартом, открытым в рамках системы, поскольку международного стандарта для него пока не существует. Но без наличия такого стандарта ни о каком объединении разнородных библиотечных систем не может быть и речи.

В дальнейшем, при рассмотрении протокола и связанных с ним функций системы мы будем говорить не о функциональных блоках протокола, а о сервисах прикладного уровня, под которыми понимается совокупность услуг уровня и правил их использования.

Предоставление доступа различным категориям пользователей к электронным каталогам библиотек означает, что пользователь может получить доступ к каталогам всех библиотек одновременно с одного рабочего места. Такой доступ можно реализовать только в том случае, если все библиотеки, имеющие электронный каталог, будут объединены в распределенную библиотечную систему. Такая система необходима также для обеспечения оперативного обмена библиографическими описаниями между библиотеками.

Концепция виртуального библиографического пространства

Создание открытой (в той или иной степени) системы предусматривает ее разделение на концептуальный, логический и физический уровни представления (рис. 1).

На концептуальном уровне систему можно представить в виде виртуального библиографического пространства. Это основная идея предлагаемого подхода к объединению библиотечных систем. Виртуальное пространство представляет собой совокупность информационных образов библиотечных систем, т. е. их библиографических БД, организованную таким образом, что ее можно рассматривать как информационный образ одной большой системы, представляющий собой множество библиографических описаний документов в формате обмена и самих документов. Можно говорить о том, что формат обмена как стандарт относится к концептуальному уровню. В представлении пользователей и в "представлении" прикладных программ виртуальное пространство является цельным объектом, доступ к которому прозрачен, т. е. нет необходимости знать, какие библиотеки его образуют, их электронные адреса и т. п. При описании виртуального пространства все относящиеся к нему операции следует понимать в смысле информационного отображения соответствующих операций на физическом и логическом уровнях.

Следует отметить, что описания и сами документы физически хранятся на компьютерах конкретных библиотек в различных форматах; но для пользователя эти форматы скрыты, и он может оперировать описаниями, рассматривая их только в формате обмена.

Рис. 1. Уровни представления открытой распределенной
информационно-библиотечной системы

Каждое описание в этом пространстве имеет уникальный идентификатор, который состоит из относительного идентификатора описания, уникального в конкретной библиотеке, и названия этой библиотеки:

Всегда можно определить, какой библиотеке принадлежит описание данного документа.

При вводе описания документа одной из библиотек оно сразу попадает в виртуальное библиографическое пространство (при условии, что библиотека подключена к нему). При этом никакого физического копирования или преобразования описания не происходит. После ввода описания его можно корректировать, удалять, перемещать (копировать, читать). Кроме того, оно становится доступным для поисковых систем. Поисковые системы обращаются к пространству как единому целому, посылая в него поисковый запрос. Они могут обращаться и к какой-либо части пространства, например к конкретной библиотеке.

Пространство могут сканировать одновременно много запросов, хотя в каких-то его частях в одно время может находиться только один запрос. Для каждого описания хранятся дата ввода и права доступа (на чтение, коррекцию, удаление, копирование). Это позволяет в случае необходимости ограничить доступ к определенным описаниям.

Как уже было отмечено, пространство содержит не только библиографические описания документов, но и сами документы в электронном виде. Если в библиографическом описании нет ссылки на описываемый документ в электронном виде, то он отсутствует в информационном пространстве, существуя на каком-либо другом носителе, например бумажном.

Реализация концепции виртуального библиографического
пространства в рамках проекта RUSLANet

Создание виртуального библиографического пространства является центральной идеей проекта RUSLANet [1]. Единое библиографическое пространство реализуется в виде распределенной библиотечной системы Северо-Запада России. В основу системы положены два стандарта:

  • международный индустриальный стандарт на формат обмена библиографическими описаниями, в качестве которого используется стандарт UNIMARC или USMARC;
  • корпоративный стандарт на протокол обмена библиографическими описаниями.

Протокол обмена описаниями является специализированным и относится к прикладному уровню. Он условно назван NBTP (Network Bibliographical Transfer Protocol - сетевой библиографический транспортный протокол).

Существуют два способа реализации NBTP.

    Первый - реализация принципиально нового протокола. Достоинством этого способа является то, что он будет разработан изначально с учетом всех выдвигаемых требований и поэтому будет функционировать наиболее слаженно. К недостаткам можно отнести "новизну" протокола (он еще нигде не использовался) и большие трудозатраты на его реализацию и внедрение.

    Второй способ - адаптация известного протокола Z39.50 в рамках заложенных в него возможностей расширения. Z39.50 описывает прикладной уровень взаимодействия распределенных информационно-поисковых систем и входит в семейство протоколов OSI (Open System Interconnection). Адаптация Z39.50 заключается в создании специальных программ для поддержки сервисов, требуемых распределенной системой. (Подробнее сервисы будут рассмотрены ниже.) Достоинства второго способа: совместимость (хотя и ограниченная) с другими системами, использующими Z39.50, и умеренные трудозатраты на адаптацию протокола и внедрение соответствующих специальных программ. К недостаткам следует отнести невозможность реализовать требуемые сервисы наиболее эффективным способом; возможность использования в системе только тех платформ компьютеров, для которых разработаны средства поддержки Z39.50; зависимость от организации-разработчика Z39.50.

По сути дела протокол NBTP образует новый логический уровень (верхний логический подуровень на рис. 1) над существующими библиотечными системами (рис. 2). Он позволит объединить их в единую распределенную библиотечную систему, которая по существу является специализированной логической сетью (библиотечная сеть учреждений науки и образования Северо-Запада России - RUSLANet). Ее можно рассматривать как совокупность узлов, логических каналов и процессов. Под узлом понимается библиотека, имеющая хранилища данных, под логическим каналом - совокупность программных библиографических средств и справочной информации, необходимой для установления реального (физического) соединения; под процессом - программу, реализующую библиотечный сервис.

В создаваемой информационной системе предусмотрена реализация концепции информационной безопасности, которая заключается в следующих понятиях:

  • доступность - возможность за разумное время получить требуемую информационную услугу;
  • целостность - актуальность и непротиворечивость информации, ее защита от разрушения и несанкционированного изменения;
  • конфиденциальность - защита от несанкционированного доступа.

Рис. 2

Информационная безопасность поддерживается на концептуальном и логическом уровнях. Каждое описание в виртуальном пространстве имеет поле "права доступа". Организация сети предусматривает обеспечение надежности функционирования всей системы в случае отказа какого-либо узла. Сервисы сети учитывают требования информационной безопасности в своих алгоритмах реализации.

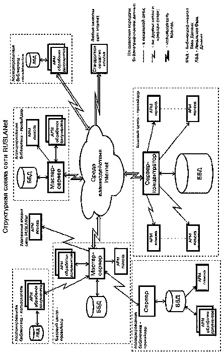
Функционально-логическая структура сети

Логическая сеть RUSLANet (рис. 3) базируется на сети Интернет, которую можно условно назвать физической сетью. К физической сети предъявляются следующие требования:

  • широковещательная конфигурация (информация, передаваемая любым узлом, может быть воспринята остальными узлами),
  • многосвязная топология (любой узел сети может связаться с любым другим узлом сети).

Сеть Интернет как основа системы выбрана естественным образом, поскольку она отвечает требованиям, предъявляемым к физической сети; позволяет объединять разнородные сети, платформы и обеспечивает возможность обмена информацией по различным физическим каналам: от спутниковой связи и оптоволоконных каналов до телефонных коммутируемых каналов; имеет высокую динамику развития.

Рис. 3

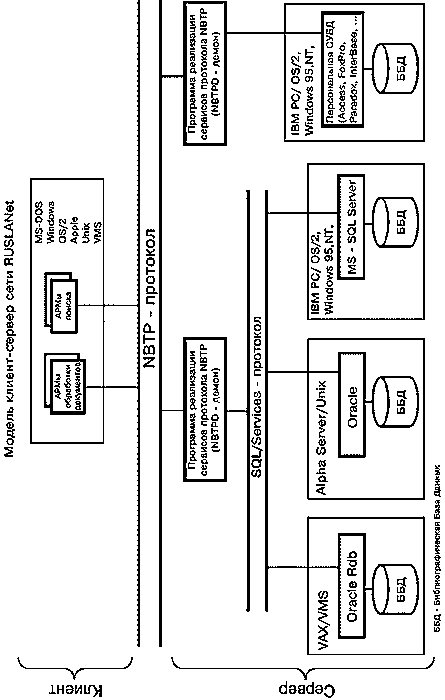
Далее будем вести описание на логическом уровне, которому соответствует верхний логический подуровень на рис. 1. Логическая сеть RUSLANet имеет многосвязную топологию с последовательной динамически настраиваемой конфигурацией иерархического типа. Последовательная конфигурация предполагает, что каждый узел логического подуровня иерархии (дерева) передает информацию только связанным с ним узлам соседних подуровней. Конфигурация является динамически настраиваемой, поскольку каждый узел передает информацию по своей иерархии сети. Система управления сети является распределенной и использует доменную адресацию узлов сети. Логические каналы RUSLANet базируются на транспортных механизмах Интернет. Именно это обусловило разделение логического уровня представления на два подуровня (рис. 1). Транспортный механизм представляет собой стек сетевых протоколов и драйверов, обеспечивающих физический, канальный, сетевой и транспортный уровни семиуровневой эталонной модели взаимодействия открытых систем (OSI) [2]. На рис. 1 этим уровням соответствует нижний логический подуровень представления. Сеансовый, представления данных и прикладной уровни реализуются (в той или иной степени) протоколом NBTP (рис. 4). Им, в свою очередь, на рис. 1 соответствует верхний логический подуровень представления.

Сеть RUSLANet использует модель взаимодействия клиент-сервер, в частности модель сервера приложений [3]. Сервисы сети являются распределенными.

В архитектуре сети выделяются четыре класса узлов: мастер-серверы, серверы-концентраторы, просто серверы и пользовательские рабочие станции. Под серверами понимаются рабочие станции (т. е. компьютеры библиотек), обслуживающие другие рабочие станции. Они должны либо иметь прямой выход в Интернет (по любым видам каналов), либо соединяться напрямую по другим каналам связи, например телефонным (рис. 3). Серверы обмениваются между собой и пользователями информацией в режиме онлайн. Ряд библиотечных сервисов использует механизм электронной почты. Пользовательские рабочие станции должны быть зарегистрированы на каком-либо из серверов или на нескольких. Они обеспечиваются новостийным сервисом.

Рис. 4

Выделяются следующие типы библиотек, имеющих свои серверы в сети RUSLANet (рис. 3):

  • базовые центры-провайдеры библиотечного сервиса;
  • базовые центры-провайдеры поискового сервиса;
  • ассоциированные библиотеки-провайдеры библиотечных ресурсов;
  • ассоциированные библиотеки-пользователи библиотечного сервиса.

Провайдеры библиотечного сервиса обеспечивают возможность доступа библиотек-провайдеров и библиотек-пользователей, которые не имеют прямого выхода в Интернет, в логическую сеть через другие каналы связи, например телефонные. Они также являются провайдерами библиотечных ресурсов. Провайдеры поискового сервиса собирают и хранят появляющиеся в сети библиографические описания и открыты только на чтение и поиск. Провайдеры библиотечных ресурсов обладают специализированными средствами ввода библиографической и полнотекстовой информации в свои БД, представленные в виртуальном пространстве, и производят такую информацию.

Базовый центр-провайдер должен иметь прямой выход в Интернет, желательно через высокоскоростные каналы связи. Ассоциированные провайдеры должны либо иметь прямой выход в Интернет, либо подсоединяться к сети через базовый центр. Ассоциированные библиотеки-пользователи не обладают достаточно мощной техникой для ведения собственных библиографических БД, поэтому размещают свои библиографические данные на сервере одного из базовых центров-провайдеров. В этом случае непосредственно на компьютерах таких библиотек будет располагаться только программное обеспечение, необходимое для работы с библиографическими описаниями.

В базовых центрах и ассоциированных библиотеках, которые являются провайдерами библиотечных ресурсов, размещаются мастер-серверы. Они обеспечивают поддержку всех сервисов сети, таких, как ввод описаний документов в единое библиографическое пространство, их коррекцию, удаление, поисковый сервис. Если ассоциированная библиотека-провайдер не имеет выхода в Интернет, то ее сервер вынужден подсоединяться к сети RUSLANet через мастер-сервер базового центра-провайдера библиотечного сервиса, который в этом случае будет выполнять функцию шлюза, обеспечивая прозрачный доступ как сервера к библиотечным ресурсам сети, так и пользователей сети к библиотечным ресурсам сервера.

В базовых центрах, которые являются провайдерами поискового сервиса, размещаются серверы-концентраторы, имеющие библиографические БД большого объема.

Каждый мастер-сервер и сервер-концентратор хранит сетевые адреса связанных с ним узлов сети, а также адреса всех мастер-серверов для обеспечения устойчивого функционирования сети при использовании ненадежных каналов связи.

Рассмотренная архитектура сети является надежной, позволяет осуществлять динамическое расширение библиотечной сети и объединять любое количество узлов сети различных типов.

В соответствии с принятой концепцией, все компоненты логической сети объединены протоколом NBTP. Чтобы обеспечить взаимодействие в режиме онлайн, на каждом из серверов функционирует специальная программа, реализующая сервисы, определяемые этим протоколом. Сервер каждой библиотеки-провайдера должен иметь свою библиографическую БД. Формат БД и тип СУБД могут быть любыми. Поэтому библиотекам, которые собираются стать провайдерами сети, нет необходимости как-то модифицировать свои системы. Необходимо только установить дополнительное программное обеспечение, которое позволяет работать в сети и поддерживает протокол NBTP. На тип платформы сервера накладывается только одно ограничение - операционная система должна быть многозадачной. Некоторые из широко распространенных типов допустимых операционных систем для серверов, а также для АРМ приведены на рис. 2.

Протокол NBTP определяет следующие сервисы:

  • базовый (ввод, чтение, коррекция, удаление библиографических описаний документов),
  • новостийный,
  • поисковый,
  • регистрационный,
  • заказа литературы,
  • электронной доставки документов,
  • межбиблиотечного обмена литуратурой.

Описание сервисов

1. Базовый сервис

Это минимально необходимый набор функций для решения задачи обмена библиографическими описаниями. Он предусматривает реализацию функций ввода, чтения, коррекции и удаления описаний.

При описании сервисов будут указываться операции, требующие или допускающие вмешательство человека - администратора сервера. (Это квалифицированный библиограф, настраивающий работу своей библиотечной системы на пользовательском уровне и осуществляющий контроль за ней.)

1.1. Ввод библиографического описания. Основная часть описания принимается единым блоком, последовательность полей в котором и формат их записи определяются форматом обмена. Для исключения случайного дублирования при вводе обязательно проводится идентификация описания с уже имеющимися на данном сервере.

Затем осуществляется посылка окружающим серверам и пользователям сообщения о наличии нового описания (посылка описания возможна только в том случае, если оно соответствует определенному критерию выдачи; возможна посылка части информации из описания). Обязательно передается идентификатор и дата ввода.

Получив сообщение о новом описании, сервер посылает запрос источнику сообщения (на чтение описания). Сервер может запрашивать не любое описание, а только удовлетворяющее некоторым условиям (критерию выдачи). Сервер может вообще игнорировать подобные сообщения. После получения описания осуществляется его идентификация и он либо вводится в базу (возможно после подтверждения администратора сервера), либо нет. Кроме того, серверы, получившие сообщение о наличии нового описания, посылают (транслируют) это сообщение окружающим их серверам (кроме сервера - источника сообщения) и клиентам-пользователям, которые обеспечиваются новостийным сервисом.

1.2. Чтение библиографического описания. Запрос на чтение описания может выдаваться серверу с ограничениями по идентификатору и дате ввода. Если эти параметры неизвестны, то необходимо использовать поисковую систему, т. е. поисковый сервис для их определения.

Запрос на чтение может быть выполнен только в том случае, если права доступа на данное библиографическое описание адекватны правам сервера или клиента-пользователя, пославших его.

1.3. Корректировка библиографического описания. Глобальную корректировку может производить только сервер-владелец. Идентификатор не корректируется. Дата ввода заменяется на дату коррекции. После коррекции посылается сообщение о корректировке всем серверам сети. Серверы, имеющие данное описание, которое определяется по уникальному идентификатору, посылают серверу-владельцу, проведшему корректировку, запрос на получение новой версии описания.

Локальную корректировку может производить не сервер-владелец. После нее изменяется идентификатор описания - он становится собственностью сервера, произведшего корректировку. В этом случае посылается сообщение не о корректировке, а о наличии нового описания.

1.4. Удаление библиографического описания осуществляется библиографом-администратором сервера при наличии соответствующих прав доступа данного сервера к данному описанию. Удалять описания можно только на своем сервере.

После удаления описания на сервере-владельце всем серверам посылается соответствующее сообщение. В этом случае серверы, имеющие копию данного описания, могут либо удалить его, либо поменять уникальный идентификатор на новый - собственный.

Другой вариант удаления - передача прав на данное описание другому серверу. В этом случае у описания изменяется уникальный идентификатор и производится процедура обновления уникальных идентификаторов в копиях данного описания на других серверах.

Если удаляется копия описания, т. е. описание не на сервере-владельце, то никаких сообщений по сети не посылается.

2. Новостийный сервис

Сервер любого класса хранит не только адреса других серверов, но и электронные адреса пользователей, которые обеспечиваются новостийным сервисом.

После появления в сети нового библиографического описания все серверы, а также пользователи, зарегистрированные на серверах, немедленно извещаются об этом (пользователи - по электронной почте). Извещение возможно только в том случае, если описание удовлетворяет определенным условиям, ограничениям, т. е. критерию выдачи. Например, могут быть ограничения по названию библиотеки, по любому из полей формата обмена. Новостийный сервис особенно актуален для работников службы заказа литературы.

3. Поисковый сервис

Поисковая система каждого сервера сети реализует два пространственных метода поиска:

    локальный (запрос выполняется только на сервере, получившем его);

    распределенный (запрос выполняется на множестве серверов).

Поисковый запрос может поступать в сеть RUSLANet не только с узлов самой сети, но и со всех других узлов Интернет с помощью программы, взаимодействующей с каким-либо из серверов (мастер-сервером или сервером-концентратором) RUSLANet посредством протокола NBTP, который поддерживает распределенную обработку поисковых запросов на всех серверах RUSLANet. Поисковый запрос, посланный в RUSLANet через один из серверов, может выполняться на любом подмножестве серверов сети.

Протокол NBTP позволяет строить поисковый запрос, используя логические операции AND, OR, NOT над любыми полями формата обмена. Кроме того, он позволяет организовывать многоступенчатый поиск по всей сети, т. е. автоматически порождаются поисковые запросы второй, третьей и т. д. ступени, которые в качестве параметров используют результаты запросов предыдущих ступеней в соответствии с алгоритмом, заданным конкретным пользователем.

Протокол NBTP обеспечивает возможность поиска не только библиографических описаний в библиографических БД, но и самих документов по их содержанию в полнотекстовых БД серверов сети. Возможны поиск и электронная доставка не только текстовых документов (статей, программ), но и графических образов, звука и т. п. при наличии соответствующего библиографического описания на них. Текстовые документы также должны иметь описание, хотя для них допускается и поиск по содержанию.

4. Регистрация новых узлов сети

Библиотека, имеющая свою библиографическую БД и выход в сеть, может войти в состав RUSLANet, установив средства взаимодействия по протоколу NBTP и зарегистрировавшись в любом существующем узле сети (лучшие ближайшем). Для регистрации посылается соответствующее сообщение. Если новый узел относится к классу мастер-серверов, то он, в свою очередь, получает право регистрации новых узлов сети.

Библиотека, имеющая выход в сеть, но не имеющая своей библиографической БД, может воспользоваться услугами библиотечного центра-провайдера библиотечного сервиса, о котором говорилось выше.

5. Сервис заказа литературы

Пользователям, имеющим электронные адреса (e-mail), некоторые библиотеки могут доставлять литературу на дом по почте. Заказ происходит автоматически: если пользователь с помощью поисковой системы нашел нужный ему документ, он вводит в операцию заказа свой адрес (физический и электронный). Далее запрос на заказ поступает библиотечному серверу. Если библиотека предоставляет такую услугу, то заказчику по электронной почте сообщаются условия заказа (стоимость, правила оплаты). Остальные действия производятся вне сетевого сервиса. Если библиотека не предоставляет подобной услуги, то заказчик получает соответствующее уведомление.

6. Сервис электронной доставки документов

Обеспечивает доставку электронных копий документов пользователям, обладающим лицензией на получение таких документов. Различают следующие виды электронных документов: статьи из полнотекстовых БД; файлы мультимедия; графические образы книг, статей и т. п., полученные путем их сканирования.

Лицензия на пользование полнотекстовыми БД выдается на определенный срок. Лицензия на файлы мультимедия и отсканированные документы выдается на конкретный объект. В полнотекстовых БД могут находиться документы свободного доступа, т. е. выдаваемые без лицензии. Получение лицензии на пользование полнотекстовой БД происходит автоматически, за исключением процедуры оплаты, если она предусмотрена. Аналогично получение лицензии на файлы мультимедия и отсканированные документы. Только в этом случае предварительно необходимо послать заказ (это происходит автоматически) и произвести оплату.

Электронная копия документа поступает заказчику по сети (каналу связи) с использованием электронной почты или средств передачи файлов (например ftp) в зависимости от желания заказчика и объема документа.

7. Сервис межбиблиотечного обмена литературой

Предусмотрен в сети RUSLANet, распространяется только на библиотеки, входящие в ассоциацию и имеющие свои серверы в сети RUSLANet. Каждая такая библиотека хранит на своем сервере перечень библиотек ассоциации, с которыми осуществляется обмен литературой. Заказ источников происходит автоматически. Администратор сервера извещается о наличии заказов при запуске своего АРМ. Если заказ может быть выполнен, администратор посылает по сети заказчику подтверждающее сообщение. Далее межбиблиотечный обмен осуществляется обычным путем.

Заключение

Проект RUSLANet предусматривает создание распределенной библиотечной системы, которая на практике позволит ввести поколение нового библиотечного сервиса, объединяющего предыдущий опыт библиотечных информационных систем с современными достижениями в области сетевых и информационных технологий.

Реализация всех сервисов проектируемой системы обеспечит:

  • автоматизированный обмен библиографическими описаниями между библиотеками, входящими в ассоциацию, и с зарубежными системами подобного типа;
  • одновременный доступ многих пользователей различных библиотек, а также пользователей Интернет к электронным каталогам библиотек ассоциации и другим библиотечным ресурсам, сконцентрированным в сети;
  • автоматизацию технологии межбиблиотечного обмена литературой;
  • такие современные услуги, как электронный заказ литературы и электронную доставку документов;
  • переход на новый уровень в сфере библиографической обработки документов и пополнения фондов библиотек (заказа литературы).

Осуществление этого проекта позволит организовать такой библиотечный сервис в Северо-Западном регионе России, который отвечает нуждам не только сегодняшнего дня, но и будущего.

Проект реализуется Фундаментальной библиотекой С.-Петербургского государственного технического университета совместно с Центром "Открытые библиотечные системы".

Наши электронные адреса:

e-mail:"libmaster @unilib.unilib.neva.ru"

www(сервер университета): http://www.unilib.neva.ru:80

информационный сервер RUSLANet: http://www.ruslan.ru:8001

СПИСОК ЛИТЕРАТУРЫ

  1. Plemnek A., Sokolova N. RUSLANet - a new generation library system project in Russia // The Electronic Library. 1996. Vol. 14, № 4. С. 303-306.
  2. Като М., Иимура Д., Токоро М., Тома Е. Построение сетей ЭВМ / Пер. с япон. М.: Мир, 1988. 307 с.; ил.
  3. Ладыженский Г.М. Системы управления базами данных - коротко о главном // Системы управления базами данных. 1995. № 2. С. 125-142.
Copyright © 1995-97 ГПНТБ России